龙虎榜 | 河化股份今日跌停,知名游资作手新一卖出650.08万元
快讯
2024年08月07日 22:40 71
admin
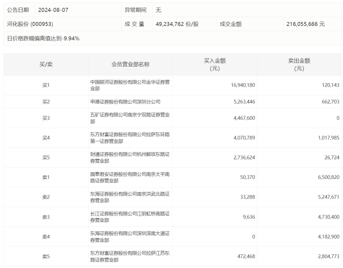
河化股份今日跌停,龙虎榜数据显示,上榜营业部席位全天成交5933.85万元,占当日总成交金额比例为27.46%。其中,买入金额为3404.44万元,卖出金额为2529.41万元,合计净买入875.03万元。
具体来看,知名游资现身龙虎榜,作手新一(国泰君安证券南京太平南路证券营业部)、东海证券南京洪武北路证券营业部分别卖出650.08万元、524.77万元;中国银河证券金华证券营业部、申港证券深圳分公司分别买入1694.02万元、526.34万元。

上一篇
最赚钱的衣服生意,如何把握市场脉搏,实现盈利最大化,最赚钱的衣服生意,如何把握市场脉搏,实现盈利最大化
下一篇在今天的全球商业环境中,海上运输仍然是一个不可或缺的行业。尤其是在全球经济一体化和贸易自由化的背景下,这个行业的发展趋势更是不可预测。,海上运输在全球商业环境中的重要性及其发展趋势
相关文章
