钟薛高雪糕仅剩3款,子公司被申请破产审查
快讯
2025年06月05日 18:00 63
admin
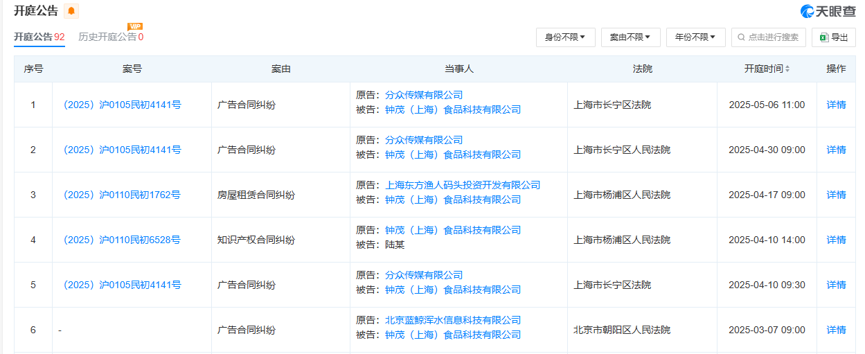
远离“聚光灯”的钟薛高再次传来消息,其子公司新增一则破产审查案件。

信息显示,钟茂(上海)食品科技有限公司成立于2020年6月,注册资本1000万元,法定代表人王科琴,由钟薛高食品(上海)有限公司全资持股,其中钟薛高创始人林盛担任财务负责人。

南财快讯记者注意到,去年5月林盛因直播卖红薯还债一事重回大众视野,其直播账号名称为“钟薛高老林”,头像为林盛,签名为“好好做产品,好好还债,好好在一起”。
据南财快讯此前报道,林盛“卖红薯还债”的说法最早可以追溯到去年4月。新浪财经CEO邓庆旭当月发微博称,钟薛高创始人林盛被“限高”后,坐了一晚上绿皮火车到北京。林盛对他说,“就是卖红薯也要把债还上”。
随后,“钟薛高创始人称卖红薯也要把债还上”的话题,登上了微博热搜。林盛也发微博称:“没有想到,我的一句朋友间承诺登上了微博热搜。虽然钟薛高目前面临诸多困难,但我们努力改变负起责任的决心没有改变。励精图治,肩负起对员工、伙伴和社会的责任!”


该旗舰店的经营者为上海钟远食品有限公司(简称“上海钟远”),成立于2022年3月,注册资本100万元,法定代表人为周兵,由钟薛高食品(上海)有限公司全资持股。天眼查显示,上海钟远基本不涉及法律诉讼、经营风险,不过钟薛高食品(上海)有限公司持有的股权处于冻结状态。
公开资料显示,钟薛高2018年于天猫平台起家,陆续推出了多款单价50元以上的雪糕产品,最高的雪糕单价可达66元,并因“雪糕刺客”称号多次冲上热搜。创始人林盛则出身广告咨询行业,曾操盘过马迭尔、中街1946等雪糕产品的营销。
相关文章
